坐席的呼入队列记录报告
坐席的呼入队列记录 报告提供指定时间段内各坐席通话活动的概览。本文介绍如何获取报告,并详细介绍关键指标。
获取坐席的呼入队列记录
- 登录 PBX 管理网页,进入 。
- 获取坐席的呼入队列记录。

- 点击 我的报告 页签。
- 点击报告旁边的
。
- 设置通话报告的筛选条件。

筛选 说明 队列 选择一个或多个队列。 坐席 选择一个或多个坐席。 时间 设置报告的统计时间范围。 通讯类型 选择一个或多个通讯类型。 主叫号码 填写主叫号码或名称。 坐席最后通话状态 选择坐席最后通话状态。 队列状态 选择队列通话状态。 处理结果 选择放弃或未接队列来电的处理状态。 队列等待时长 指定呼叫者在接通坐席前的等待时长统计区间。
支持填写数字、
-、=、<、<=、>、>=,或指定一个时间范围。坐席等待时长 坐席接听队列来电的响应时间。
支持填写数字、
-、=、<、<=、>、>=,或指定一个时间范围。通话时长 指定坐席的通话时间,包括保持时间。 支持填写数字、
-、=、<、<=、>、>=,或指定一个时间范围。纯通话时长 指定坐席的通话时间,不包括保持时间。 支持填写数字、
-、=、<、<=、>、>=,或指定一个时间范围。保持时长 指定坐席保持通话的时间。 支持填写数字、
-、=、<、<=、>、>=,或指定一个时间范围。源中继 指定呼叫者呼入队列使用的中继。 DID/DDI 指定呼叫者拨打的 DID 号码。 排除 (X秒) 内放弃通话 指定响铃时长,排除短时放弃的呼叫。 报告将不包括在此时间段内放弃的呼叫。
排除 (X 秒) 内通话 指定通话时长,排除短时通话。 报告将不包括在此时间段内结束的通话。
页面将显示符合筛选条件的报告数据。

- 可选: 调整列表中的列,以查看关键性能指标。
操作 说明 指定显示的列 点击
,选择要显示的列。
固定列 点击字段旁边的
,将其拖拽到
左侧 (固定列) 或 右侧
(固定列)。
调整列顺序 点击字段旁边的
,将其拖拽到目标位置。
- 可选: 保存报告以便快速访问,或设置自动通过邮件发送报告。
操作 说明 添加到 我的报告 将此报告添加到 我的报告 列表以便快速访问。 - 在页面底部,点击 添加到我的报告。
- 输入名称以便识别此报告,并根据需要调整筛选条件或指标。
- 点击 保存。
添加到 预约报告 创建预约任务,通过邮件发送报告。 - 在页面底部,点击 创建预约报告。
- 根据预约任务完成后续设置。
下载报告 将报告下载到本地电脑,以便离线查看和进一步分析。 
- 可选: 点击
,自定义报告下载设置,并保存更改。- 格式:指定报告的下载格式。
- CSV
- XLS
- HTML
- 时间格式:指定时间相关字段的显示格式。
- 显示为秒
- 显示为时分秒 HH:MM:SS
- 导出字段:指定要导出的字段。
- 所有
- 已选择
- 格式:指定报告的下载格式。
- 点击 下载。
报告详细信息
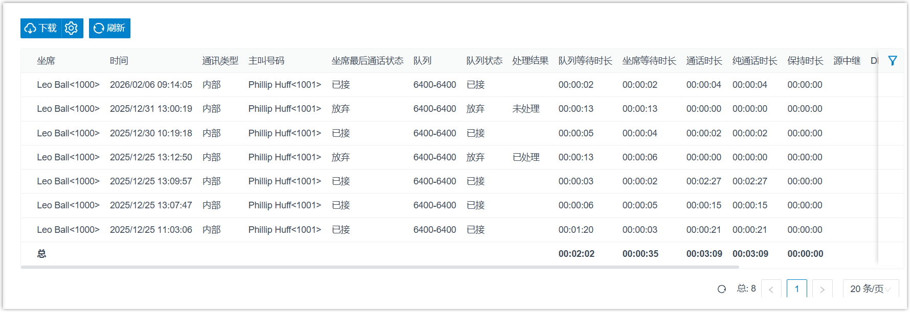
下表列出该报告的关键指标及对应说明。
| 指标 | 说明 |
|---|---|
| 坐席 | 坐席号码和名称。 |
| 时间 | 队列接收来电的时间。 |
| 通讯类型 | 通话类型。 |
| 主叫号码 | 呼入队列的主叫号码。 |
| 坐席最后通话状态 | 坐席最后通话状态。 |
| 队列 | 队列号码和名称。 |
| 队列状态 | 通话状态。 |
| 处理结果 | 呼叫者放弃或坐席未接的队列来电的处理结果。 |
| 队列等待时长 | 呼叫者在队列中等待坐席接听的时间。 |
| 坐席等待时长 | 坐席接听队列来电的响应时间。 |
| 通话时长 | 坐席的通话时间,包括保持时间。 |
| 纯通话时长 | 坐席的通话时间,不包括保持时间。 |
| 保持时长 | 坐席保持通话的时间。 |
| 源中继 | 呼叫者呼入队列使用的中继。 |
| DID/DDI | 呼叫者呼入队列使用的 DID 号码。 |
| 通话记录 ID | 通话记录的唯一 ID。 |
| 尝试呼叫次数 | 尝试呼叫该坐席的次数。 |